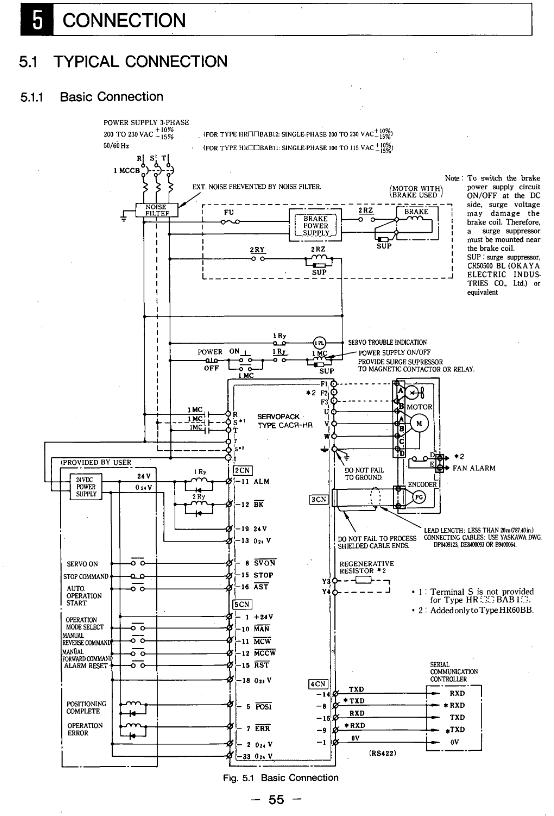
Grounding requirements:
Driver FG terminal → grounding electrode (Class 3 grounding, resistance ≤ 100 Ω);
Motor frame ground → driver FG terminal to avoid common ground interference.
Noise control:
Install a noise filter on the power side (such as HR03BAB with LF-205A);
The distance between power lines and signal lines should be ≥ 30cm, and wiring in the same conduit is prohibited.

Functional operations (I/O, communication, parameters)
1. I/O signal operation
Input signal timing: SVON, AST and other signals need to maintain a stable level of ≥ 5ms to avoid false triggering;
Output signal status:
POS1 (positioning completed): ON when the deviation between the current position and the target position is ≤ P6 (positioning completed width, 1-250 units);
NEAR (positioning proximity): ON when the deviation is ≤ P45 (positioning proximity width, 0-3000 units).
2. Serial communication (RS422)
Communication specifications:
Baud rate: 9600/4800/2400/1200Baud (default 9600);
Data format: 1 start bit+7 data bits+1 even check bit+1 stop bit.
Core command:
SVON: Servo Enable;
MOV ± nnnnnn: Absolute positioning (± 8-bit position data);
ZRN: Start back to zero;
PRMpp=± nnnnnnnn: Set parameters (pp=parameter number).
Multi axis control: Supports 16 axes and specifies the control object through axis addresses (1-16).
3. Parameter Setting (Example of Core Parameters)
Parameter Number, Parameter Name, Unit Range, Function Description
P1 position loop gain Kp s ⁻¹ 0-200 adjusts position control response speed, the larger the value, the faster the response (prone to oscillation)
P2 speed loop gain Kv × 2.5Hz 1-200 adjustment speed control response speed, matching system rigidity
P4 1st feed rate x 1000 units/minute 1-240000 reference speed in automatic/manual mode
When the deviation of the width unit 1-250 after P6 positioning is ≤ this value, the POS1 signal is ON
P7 motor selection -0-79 matching motor model (e.g. 32=USAREM-A5CS)
P8 encoder pulse P/R (× 4) 4096-32768 encoder pulse per revolution (absolute 8192P/R set to 32768)
Display/Monitoring and Maintenance
1. Display function
LED indicator light:
MAIN (red): residual voltage in the main circuit (slowly extinguishes after power failure);
RUN (green): Control power supply is normal (+5V normal);
ALM (red): Fault alarm (check the 7-segment digital tube code when it lights up).
7-segment digital tube:
Normal state: Display current position (PUN) and speed (NFB);
Fault status: Display code (such as OC=overcurrent, OL=overload, BAT=low battery).
2. Trial operation process
Preparation stage:
Check the wiring (main circuit/control circuit is not loose) and parameters (P7/P8/P9 matching motor and encoder);
Absolute encoder reset: Short circuit the specific pin of the encoder and release it after powering on for ≥ 2 minutes.
Test operation:
Servo Enable: Send SVON command, confirm that RUN light is on and ALM light is off;
Jogging test: Send JOG+1000 command (1000 units/minute) to confirm that the motor rotates smoothly;
Positioning test: Send MOV+10000 command and confirm that POS1 signal is ON after positioning is completed.
3. Maintenance and troubleshooting
Battery replacement: Replace the absolute encoder battery (3.6V) when the voltage is ≤ 3.3V, and replace it after power failure (to avoid data loss).
Common troubleshooting:
|Alarm code | Fault cause | Handling measures|
|OC (overcurrent) | Main circuit overcurrent (≥ 1.2 times peak current) | Check if the motor wiring and load are stuck|
|OL (overload) | Motor overload (exceeding allowable load inertia) | Reduce load inertia and acceleration rate|
|PG (Encoder Disconnected) | Encoder Cable Loose/Disconnected | Check 3CN Wiring and Encoder for Damage|
|BAT (low battery) | Absolute encoder battery voltage low | Replace 3.6V lithium battery (such as CR2450)|
Installation and environmental requirements
Motor installation:
Installation method: Both horizontal and vertical can be used, with axis centering deviation ≤ 0.03mm;
Axial load: The radial/axial load shall not exceed the specifications in Table 3.9 (such as M series 03B model radial 490N).
Driver installation:
Rack mounted (BAB): vertically installed, with a spacing of ≥ 10cm (for heat dissipation);
Base type (BB): vertically installed, avoiding direct sunlight/condensation environment.
Environmental restrictions:
Temperature: driver 0-55 ℃, motor 0-40 ℃;
Humidity: 20% -80% RH (without condensation);
Dust: Do not use in dusty or corrosive gas environments.

Email:wang@kongjiangauto.com